Local:>>Home>>ProductsProducts
ZTG系列振動流化床脫水干燥(冷卻)機

概 述 |
振動式流化床干燥技術最早出現在日本、美國等國家,八十年代初,我國一些化工行業相繼引進使用,因其強化了傳熱傳質過程,通過振動使物料實現連續干燥,從而節約能源,克服了對流化床中被干燥物料會形成溝流和滯動區,溫度大時易結塊,以及由于是顆粒返混,顆粒停留時間分布范圍大,顆粒含濕量不均等缺點。因而在物料干燥方面具備了更廣泛的適應性和經濟上的合理性。ZTG系列振動流化床干燥(冷卻)機是我廠在吸收日本和美國樣機基礎廠,國產化的國內新一代振動干燥設備。近幾年來,在我國許多行業,如輕工、食品、化工、制藥、精制鹽及非金屬礦物等午到廣泛的應用。 |
主要技術參數 |
工作振幅0-3.2mm; |
主機噪聲:當流化床的分布板,小于或等于2.7m2時,噪聲不大于80dB,大于2.7m2時,噪聲不大于85dB; |
電機表面溫升:當主機空運轉4小時,不大于60℃; |
干燥強度:當對粒度為1.6-3.5mm的石英砂,在規定條件下試驗時,干燥強度不低于40kgH2O/hm2 |
結構原理及特點 |
原理:所謂振動流化床就是在普通流化床的基礎上施加振動而成。振動流化床干燥機是由振動電機產生激振力使機器振動,被處理物料就是在給定方向的激振力的作用下跳躍前進,同時流化床底部輸入的熱風使物料處于流化狀態,物料與熱風充分接觸,從而達到理想的干燥效果。 |
結構:該機主要由以下幾部分組成 |
|
1、加料口 |
2、上蓋 |
3、空氣出口 |
4、出料口 |
5、底座 |
6、振動電機 |
7、空氣入口 |
8、減振彈 |
9、振床 |
|
特 點 |
1流態化均勻穩定,無死床和吹穿現象,可以獲得均勻的干燥,冷卻的制品。 |
2振動源為振動電機,運轉平穩,維修方便,噪音低,設備壽命長。 |
3可調性好,料層厚度和物料在機內停留時間以及機器的振幅變更可以在設計范圍內無級調節。 |
4適應面寬,對不同比重、粒度和形狀、含水量、含水形式的物料均能適應。 |
5對物料表面損傷小,可用于易碎物料的干燥。 |
6作業環境清潔,可連續作業。 |
7加熱方式為直接蒸氣加熱,熱效率高,節能效果好,比一般裝置節能30%-60%。 |
系列型譜及參數 |
型號 |
整機外形尺寸(mm) |
流化床尺寸(mm) |
整機功率(KW) |
整機重量(kg) |
3×30 |
3510×890×1830 |
2990×280×150 |
1.5 |
1250 |
3×45 |
5010×1120×1830 |
4500×280×150 |
1.5 |
1580 |
6×45 |
5010×1290×1940 |
4500×550×150 |
3 |
1970 |
6×60 |
6510×1290×1940 |
6000×550×150 |
3 |
2750 |
9×60 |
6510×1830×2110 |
6000×850×150 |
4.4 |
3540 |
9×75 |
8010×2100×2110 |
7500×850×150 |
7.4 |
4220 |
12×75 |
8010×2400×2570 |
7500×1150×150 |
7.4 |
5260 |
15×75 |
8010×2850×2450 |
7500×1450×150 |
7.4 |
6430 |
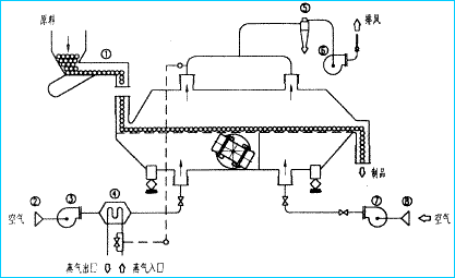
ZTG系列振動流化床干燥機配套系統圖 |
|
1、振動給料機 |
2、空氣過濾器 |
3、送風機 |
4、加熱器 |
5、集塵器 |
6、引風機 |
7、送風機 |
8、空氣過濾器 |